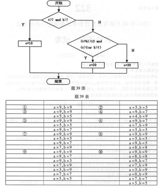
请用白盒测试法对题39图所对应的程序流程图进行测试。要求从题39表的候选答案中分别找出满足语句覆盖、分支覆盖、条件覆盖、条件组合覆盖和路径覆盖5种覆盖标准的最少测试用例。
请用白盒测试法对题39图所对应的程序流程图进行测试。要求从题39表的候选答案中分别找出满足语句覆盖、分支覆盖、条件覆盖、条件组合覆盖和路径覆盖5种覆盖标准的最少测试用例。
【正确答案】:(1)语句覆盖:⑤;(2)分支覆盖:⑤;(3)条件驱盖:④;(4)条件组合覆盖:⑨;(5)路径覆盖:⑤。
请用白盒测试法对题39图所对应的程序流程图进行测试。要求从题39表的候选答案中分别找出满足语句覆盖、分支覆盖、条件覆盖、条件组合覆盖和路径覆盖5种覆盖标准的最少测试用例。
请用白盒测试法对题39图所对应的程序流程图进行测试。要求从题39表的候选答案中分别找出满足语句覆盖、分支覆盖、条件覆盖、条件组合覆盖和路径覆盖5种覆盖标准的最少测试用例。
📱 扫码体验刷题小程序
扫一扫使用我们的微信小程序